糖心VLOG官网入口,糖心VLOG官网首页,糖心黄色视频,糖心APP官网在线下载入口

热门页面: 糖心VLOG官网首页价格 大型糖心VLOG官网首页球 磨机工作原理 糖心VLOG官网首页衬板 湿式糖心VLOG官网首页 矿石糖心VLOG官网首页球 磨机型号 节能糖心VLOG官网首页 溢流糖心VLOG官网首页
  • 24小时糖心APP官网在线下载入口热线24小时糖心APP官网在线下载入口热线 15311826765
  • 添加微信添加微信 13811510145
  • 公司地址公司地址

    山东省烟台市福山高新技术产业区糖心VLOG官网入口街188号

首页 > 产品中心 > 破碎机 > 液压圆锥破碎机

液压圆锥破碎机

液压圆锥破碎机

产品简介:一款中细碎破碎机,采用液压系统调整排矿口,并用于过载保护。

处理能力:5~750t/h

产品改进:主轴上下两端均有支撑,破碎腔形状设计更加科学,液压与润滑系统双保险控制。

优势特点:

这款液压圆锥破碎机主轴上下两端均有支撑,能承受更大的破碎力和更大的冲程,破碎效率得到提升,加上破碎腔形状的科学设计,处理能力比老式弹簧圆锥破高35%~60%。

破碎腔形的优化设计以及层压破碎原理使成品中立方体所占的比例明显增高,针片状石子减少,粒级更为均匀。

液压与润滑系统双保险控制,使液压圆锥破碎机在过载时得到保护,并具有良好的轴承润滑。

24小时糖心APP官网在线下载入口热线 15311826765

如果您有任何的问题,请通过以下方式联系糖心VLOG官网入口,糖心VLOG官网入口将给您更多更好的协助!

产品简介

液压圆锥破碎机适用于破碎坚硬与中硬矿石及岩石,广泛应用于矿业、建筑业、冶金、化学及磷酸盐工业。

工作原理

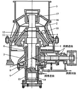
液压圆锥破碎机结构图

液压圆锥破碎机的电机通过三角带、传动轴、传动齿轮带动偏心套旋转,动锥在偏心套作用下做旋摆运动,使动锥和定锥时而靠近时而偏离,从而对物料不断挤压或冲击而使其破碎,破碎的物料从下部排矿口排出。

产品FAQ

进动角对圆锥破碎机的影响有哪些?

在破碎腔型结构参数确定的前提下,进动角决定破碎机偏心距及排料口摆动形成大小。进动角越大,物料在破碎腔中收到更大冲击,粉碎效果改善,同时对物料运动学性能有利,破碎机生产率提高,但破碎机整机动力性能恶化。进动角越小,物料粉碎效果变差,生产率下降,但机器动力性能改善。故在破碎机整机性能允许的前提下,进动角亦取最大值。

技术参数

型 号 破碎头底部直径(mm) 最大进料料度(mm) 出料调整范围(mm) 破碎产量(t/h) 电机功率(KW) 偏心轴转速(r/min) 重量(t) 外形尺寸(mm)
PYB600 600 75 12-25 40 30 356 5 2234×1370×1675
PYZ600 600 35 3-13 5-23 30 356 5.3 2234×1370×1675
PYB900 900 115 15-50 50-90 55 333 11.2 2692×1640×2350
PYZ900 900 60 5-20 20-65 55 333 11.2 2692×1640×2350
PYD900 900 50 3-13 15-50 55 333 11.3 2692×1640×2350
PYB1200 1200 145 20-50 110-168 110 300 24.7 2790×1878×2844
PYZ1200 1200 100 8-25 42-135 110 300 25 2790×1878×2844
PYD1200 1200 50 3-15 18-105 110 300 25.3 2790×1878×2844
PYB1750 1750 215 25-50 280-480 160 245 50.3 3910×2894×3809
PYZ1750 1750 185 10-30 115-320 160 245 50.3 3910×2894×3809
PYD1750 1750 85 5-13 75-230 160 245 50.2 3910×2894×3809
PYB2200 2200 300 30-60 490-750 260-280 220 80 4622×3302×4470
PYZ2200 2200 230 10-30 200-580 260-280 220 80 4622×3302×4470
PYD2200 2200 100 5-15 120-340 260-280 220 81.4 4622×3302×4470

相关信息



在线留言

您可以在下面表格填写您的需求信息,糖心VLOG官网入口的技术与销售人员会尽快与您取得联系。为保证能及时处理您的信息,请务必准确填写您的联系电话!

  • 请您填写详细的需求信息:

  • 如果以上信息无法满足您的需求,请在此填写您的具体需要。

版权所有 ©山东糖心VLOG官网入口矿业技术装备股份有限公司 2011-2018 鲁ICP备43477209号-115 公安网备案鲁公网安备 37061102001222号
网站地图